Product Summary
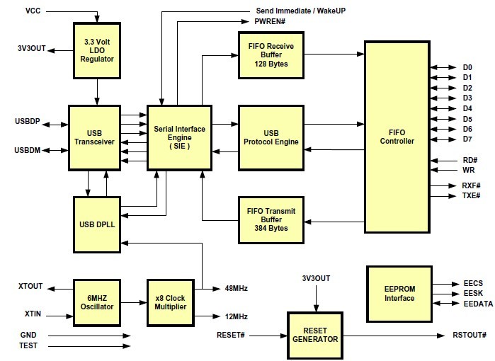
The FT245BL is an USB FIFO ( USB - Parallel ) I.C. It provides an easy cost-effective method of transferring data to / from a peripheral and a host P.C. at up to 8 Million bits(1 Megabyte) per second. Its simple, FIFO-like design makes the FT245BL easy to interface to any microcontroller or microprocessor via IO ports. To send data from the peripheral to the host computer, simply write the byte-wide data into the module when TXE# is low. If the (384-byte) transmit buffer fills up or is busy storing the previously written byte, the FT245BL keeps TXE# high in order to stop further data from being written until some of the FIFO data has been transferred over USB to the host. TXE# goes high after every byte written.
Parametrics
FT245BL absolute maximum ratings: (1)Storage Temperature: –65℃ to + 150℃; (2)Floor Life (Out of Bag) at Factory Ambient (30℃/60% Relative Humidity): 192 Hours (Level 3 Compliant); (3)Ambient Temperature (Power Applied): 0℃ to + 70℃; (4)VCC Supply Voltage: -0.5 to +6.00V; (5)D.C. Input Voltage - USBDP and USBDM: -0.5 to +3.8V; (6)D.C. Input Voltage - High Impedance Bidirectionals: -0.5 to +(Vcc +0.5)V; (7)D.C. Input Voltage - All other Inputs: -0.5 to +(Vcc +0.5)V; (8)DC Output Current – Outputs: 24 mA; (9)DC Output Current – Low Impedance Bidirectionals: 24mA; (10)Power Dissipation (VCC = 5.25V): 500mW; (11)Electrostatic Discharge Voltage (Human Body Model) (I < 1uA): +/- 3000V; (12)Latch Up Current (Vi = +/- 10V maximum, for 10 ms): +/-200mA.
Features
FT245BL features: (1)Single Chip USB, Parallel FIFO bi-directional Data Transfer; (2)Transfer Data rate to 1M Byte / Sec - D2XX Drivers; (3)Transfer Data rate to 300 Kilobyte / Sec - VCP Drivers; (4)Simple to interface to MCU / PLD/ FPGA logic with a 4 wire handshake interface; (5)Entire USB protocol handled on-chip no USB-specific firmware programming required; (6)FTDI royalty-free VCP and D2XX drivers eliminate the requirement for USB driver development in most cases.; (7)384 Byte FIFO Tx buffer / 128 Byte FIFO Rx Buffer for high data throughput.; (8)New Send Immediate support via SI Pin for optimised data throughput.; (9)Adjustable RX buffer timeout; (10)In-built support for event characters; (11)4.35V to 5.25V single supply operation; (12)UHCI / OHCI / EHCI host controller compatible; (13)USB 1.1 and USB 2.0 compatible.
Diagrams

| Image | Part No | Mfg | Description | ![]() |
Pricing (USD) |
Quantity | ||||||||||||
|---|---|---|---|---|---|---|---|---|---|---|---|---|---|---|---|---|---|---|
![]() |
![]() FT245BL |
![]() Other |
![]() |
![]() Data Sheet |
![]() Negotiable |
|
||||||||||||
![]() |
![]() FT245BL-REEL |
![]() FTDI |
![]() USB Interface IC USB to Parallel FIFO IC LQFP-32 |
![]() Data Sheet |
![]()
|
|
||||||||||||
(China (Mainland))










